微信掃碼
不僅是專業的導購
還是聊車的好伙伴
微信掃碼
不僅是專業的導購
還是聊車的好伙伴
輕質燃油加油車的分類及性能參數應符合表3-1的規定。
表3-1 加油車的分類及情能參數表

1、加油車結構
加油車通常由氣車底盤、罐體、油管、各種閥、各種工作儀表,過濾器、靜電消除裝置,軟管盤總成,加油槍及驅動裝置等組成。圖3-21為普通加油汽車外形圖。
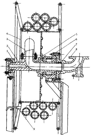
加油車的罐體與運油車的罐體相似,也具有運油車罐體的基本裝置。圖3-22為大型加油車罐體結構示意圖。橫向隔板1將罐體分成三個艙,每個艙內設有橫向防波板。罐體寬度較大時,可再設縱向防波板。2防護欄6和側防護架7是用來保護加油口,呼吸閥等不受意外碰傷,以免造成燃油外溢。大型罐體還可采用立柱8以提高罐體剛度。
加油車為了具備給受油設備加油、自吸裝油、循環攪油,移動泵站作用,吸回加油軟管中的油液等五種功能,輸油管路也較運油汽車復雜,并設有油泵。圖3-23是一大型加油車的管路系統。該車有四個艙, 每個艙底都裝有一個底閥裝置(見圖3-24),并且為放油方便,在汽車左、右兩側及尾部各設置一個放油閥,以便適應車輛在不同方位上時進行加油作業。
底閥裝置設于每艙底部,并與輸油管道相接,如圖3-24所示,底閥裝置包括底閥和緊急關閉閥兩部分,通常是操縱底閥。在進行加油(即放油)作業時,打開底閥,在運輸時,關閉底閥。緊急關閉閥經常處于打開狀態,只有在裝卸作業中出現意外情況時才關閉。
若底閥用手操縱不方便時,可采用氣動操縱的底閥,如圖3-25所示,閥塞3在彈簧2的作用下緊帖著密封圈4 底閥處于關閉狀態,當活塞9下方進入壓縮空氣時,推動活塞9,活塞桿8,頂起閥桿6,閥塞3上移,底閥打開,若氣控失靈,可擰動螺桿8,使底閥開啟。
放油閥常用的有球閥、蝶閥等。目前各類加油車大多用鋁合金球閥,通徑¢25mm的球閥保留了原閘板閥的外部連接尺寸,通徑¢50mm、¢65mm、¢80mm、¢100mm四種規格的球閥主要尺寸列于表3-2,結構如圖3-26所示。這樣,與管道的連接法蘭尺寸都可實現標準化,軟管接頭和接頭閥亦采用國際通用的通徑¢63.5mm(¢2.5in).

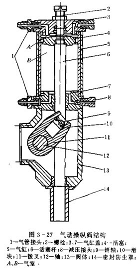
放油閥的操縱形式有手動,液動,氣動和電動等,根據總布置要求確定,手動形式簡單,在無特殊要求時,一般采用手動,為提高機械化程度,也可采用液動或氣動,液動力源可取本車動力轉向系統的壓力油液,氣壓源可取本車制去氣源。電動形式容易引起火災。圖3-27為氣動操縱閥的結構,用來操縱放油閥或其它的控制閥,當氣室A充氣,氣室B排氣時,空氣壓力推動活塞4通過活塞桿6滑塊10使拔叉11轉動,于是轉軸12使放油閥(控制閥)開啟或關閉。
2、加油車油路系統設計
(1)油路系統要求與組成,根據加油車實際性能要求,通常是按上述的加油車五種功能,確定一個最佳油路系統,滿足作業需要,并力求結構簡單,工作可靠,工芤性良好,容易實現“三化”,管路較短?,F以圖3-28大型加油車的油路系統為例,介紹設計中需注意的一些問題。該車的加油管中有閥16、油泵15、球閥7、過濾器3、流量計11、球閥5和10、絞盤總成8及加油槍等。油液是經過濾并計量后給受油容器加油的。為防止系統壓力超過規定值,在油

(2)油路系統的布置,油路系統在汽車上布置時,為充分利用汽車上的空間位置和方便操縱,通常裝整個油路系統分作為兩大部分。油路前段主要做為輸送油液的油路,一般布置在汽車車架附近,稱作車架油路,油路的后段,操縱閥較集中,又有儀表,過濾器、絞盤等部件,一般集中布置在操縱室內,故把它稱作操縱室油路。
①車架油路的布置。車架油路布置通常隨油泵位置而定。油泵位置應盡量靠近動力源,縮短傳動距離,但要保證加油車的通過性能。油路一般沿車架平面布置,力求管路短,變曲少。圖3-29為一輛大型加油車的車架油路布置圖,由于油泵7是油汽車發動機驅動,所以油泵在汽車車架內側,靠近前部。油路按車架下平面布置。
②操縱室油路的布置。操縱室油路布置時,要使常用的主要閥門便于操縱,儀表便于觀察,過濾器便于拆裝和維修,絞盤便于軟管卷繞。
操縱室油路的布置主要決定于操縱室的大小及兩絞盤的配置型式。兩絞盤的配置型式有整體式和分置式兩種,圖3-30(a)是責人絞盤集中配置的整體式配置型式,流量計,閥門等布置在絞盤兩側,來自車架油路的油液經過濾器,消靜電管后由中間向外側分左右兩路進入絞盤軟管,這種布置的優點是絞盤結構簡單,緊湊,但流量計和閥門在兩側,不便于觀察和操縱。圖3-30(b)是兩絞盤分開配置的分置式配置型式,油液經過濾器,消靜電管后分兩路自兩絞盤內側進入絞盤軟管。這咱布置優點是流量計和閥門集中在絞盤之間,便于觀察和操縱。

3、油路系統主要參數計算
(1)油路壓力損失計算,油路壓力損失是確定油泵壓力和選擇油泵的依據之一,油路壓力損失P包括沿程壓力損失
和局部壓力損失
兩部分。即:

沿程壓力損失是油液在各段直管中流動產生的壓力損失,用下式計算:



局部壓力損失是油液經過流量計,過濾器、彎管、閥門等產生的壓力損失、用下式計算:

式中
—局部阻力系數,參考有關手冊。
表3-3列出了幾種常用部件的局部壓力損失,供參考。

(2)油泵的選擇,加油車的油泵大多采用壓力較低,流量較大的自吸式渦流泵。但是普通油泵對加油車的適應性較差,因而常根據加油車性能要求和汽車的空間位置大小自行設計。圓弧齒輪泵具有體積小,運輸平穩,郊率高、壽命長等特點,得到應用。當油路系統的最高壓力
和最大流量
確定后,可用下式計算油泵的壓力和流量:

(3)油路的工作壓力,試驗壓力,設計壓力,根據油路系統的壓力損失和所選油泵的壓力,可確定油路的工作壓力。為了檢驗管路的耐壓強度和密封性而作的耐壓試驗中采用的壓力稱為試驗壓力,一般取工作壓力的1.25-1.5倍,在進行管路設計時采用的壓力稱為設計壓力,它必須大于試驗壓力,通常取工作壓力的1.3-2倍。
(4)管道內徑計算,當管道流量Q確定后,其內徑d由下式表式:

油液流速u的大小,影響到流動阻力造成的壓力損失和靜電產生量。根據推薦,燃油的最佳流速為0.1-1m/s,最大不應超過4m/s.
(5)管道壁厚的確定,管道壁厚s應滿足強度條件,可用下式計算:

式中 p—設計壓力(MPa);
—材料許用力(MPa);
d—油管內徑(mm)。
按上式計算所得壁厚較薄,還應按工藝要求和材料規格加以修正。加油軟管除承受系統的工作壓力外,還經常伸直,彎曲和卷繞,所以要求加油軟管耐高壓,允許彎曲半徑盡量小,許用工作壓力大于油路系統的最高壓力,通常取工作壓力的1.0-1.6倍,常用的軟管有夾布耐油膠管,尼龍軟管等。
4、軟管絞盤總成設計
(1)絞盤的驅動型式,絞盤是用于卷繞加油軟管的部件,主要由卷筒,轉動油管,進油管,大小軸承及其軸承座,支架等組成。圖3-31為軟管絞盤的結構圖,轉動油管5與小油管2用螺栓聯接,卷筒4用螺栓固定在轉動油管上,因而卷筒能隨轉動油管在軸承上轉動。鎖緊裝置9用來鎖住卷筒,防止加油車在行駛中絞盤自由轉動。絞盤驅動形式有人力,氣力、液-機及電力驅動等。人力驅動結構簡單,不需要專門的傳動機構,一般在軟管直徑不大于50mm(2in),絞盤較小,驅動力不超過150N時采用。氣力和液一機力驅動操作方便,動力亦可從汽車本身取得,故被廣泛采用。電力驅動結構簡單,但必須具有防爆措施,目前已極少采用。
(2)卷筒尺寸的確定,為延長軟管使用壽命,卷筒寬度B根據操縱室的空間位置進行確定,一般情況用下式計算(見圖3-32):



式中 n—一層軟管的卷繞圈數;
—軟管外徑(mm)。
根據軟管長度
,卷筒內徑D2,可按下式計算卷筒的外徑D1:

于是,卷筒上的軟管卷繞層數X為:

(3)轉動軸管設計,轉動軸管是轉動油管與小軸管(見圖3-31)的合稱,為絞盤總成的重要部件。在轉動軸管結構設計時,即要考慮管路密封,不寧考慮其支承絞盤,起到轉動軸的作用。圖3-33為轉動軸管的結構,由轉動油管6和小軸管7組成,中間用法蘭聯接。軸管的一端伸入進油管1( 固定管)兩者以有相對轉動,用密封圈密封,另一端支承在支架上。這種設計,與整體結構(中間取消法蘭聯接)相比,最大優點是改善了轉動軸管的制造工藝性。

5、飛機加油車
(1)飛機加油的特殊要求,飛機加油車在總體上與普通加油車基本相同,但結構上還有特殊要求。
①加油壓力穩定性要求高,為此在加油管路上加裝壓力調節器,穩壓器和壓力加油接冰在。
②油料的潔凈度高。油路上要用高性能的過濾分離器。罐體和管道必須采用鋁合金制造。
③絕對保證加油安全性。應安裝消靜電裝置,聯鎖控制系統、電氣防爆器、滅火器等。

④裝有高精度,大流量的計量器。
⑤油罐總容量大,給飛機加油要一次完成。
(2)飛機加油車特殊要求的主要部件
①旁通穩壓閥。給飛機加油,一般采取底部閉式加油,要求加油車具有穩定的管端壓力,通常為0.343MPa,而對車輛加油則不要求管端壓力。一般在油泵上并聯旁穩壓閥,在絞盤后的出油管路上串聯壓力補償器。圖3-34為全掛式飛機加油車油路系統圖,油泵上并聯有旁通穩壓閥,其調定壓力為油泵的工作壓力,由管端壓力和管路的壓力損失確定。圖3-35

為旁通穩壓閥的工作原理圖。氣室1內充有一定壓力的空氣,上部油室2與泵的出口高壓油相通,氣室活塞3、油室活塞4與閥門5連成一體。在泵正常工用壓力下,氣室的氣體對活塞3的推力F1與油室油液對活塞4的推力F2相等,閥門5關閉不動,當泵出口壓力升高時,油室的壓力隨之升高,F2> F1,活塞在力F=F2-F1的作用下推動閥5下移,閥門被打開,泵的出口與入口油路接通,系統壓力被打開,泵的出口與入口油路接通,系統壓力開始下降,直至恢復原工作壓力,閥門又呈關閉狀態。

②過濾分離器,為了獲得高潔凈度燃油,在管路中需加裝高性能的過濾分離器,將油中的水分,膠質和雜質分離出來,圖3-36為兩級過濾分離器。第一級濾芯2為聚結濾芯,由經過特殊處理的濾紙或玻璃纖維,合成材料,毛氈、棉織品等制成。油流經濾芯時,首先濾出的固體物質,再將膠質分離,同時將分離出的小水粒聚集成大水滴,落入由外殼形成的集水器中,第二級濾芯1為分離器濾芯,表面涂有聚四氟乙烯的表面滑下,滴入集水池中,達到徹底分離水的作用。


重汽豪沃檢修車(大流量排水搶險車) 整車型號:CL5040TPS6ACC 現車價格美麗 底盤配置:豪華寬體駕駛室、濰柴151、160馬力、萬里揚5檔、2.0T/4.5T、700R16鋼絲胎、原廠導流罩,半包圍駕駛室內飾,液晶儀表盤,帶中控、電窗、織物座椅、氣喇叭、原廠空調,全包裹、車鑰匙遠程遙控玻璃升降!重汽豪沃檢修車(大流量排水搶險車)圖片展示:?
程力汽車公司主要銷售:冷藏車、吸污車、環衛垃圾車、吸糞車、道路清掃車、高空作業車 地址:湖北省·隨州市·南郊平原崗·程力汽車工業園 網站備案號:鄂ICP備18017768號-134
鄂公網安備 42130202001503號