微信掃碼
不僅是專業的導購
還是聊車的好伙伴
微信掃碼
不僅是專業的導購
還是聊車的好伙伴
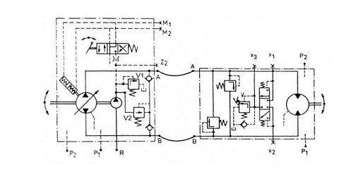
液壓泵把機械能轉換成液壓能傳送到馬達上,馬達又把液壓能轉換為機械能,最終完成功率傳遞。液壓傳動系統可以無級控制速度和方向,操作者可用一個手柄完全控制系統,進行啟動、停止、正轉或反轉,該手柄控制泵斜盤傾角。

改變變量泵斜盤傾角,泵輸出一定的流量,這個流量經高壓管傳遞到馬達上。泵的流量與馬達排量共同決定馬達輸出軸轉速。改變泵斜盤傾斜方向,泵的油流方向隨之改變,馬達輸出軸轉向也隨之改變。因此馬達輸出軸轉速和旋轉方向可由調節泵的控制手柄來實現。

手柄位移量與斜盤傾角大小成比例,進而與變量泵的實時排量成正比。工作壓力取決于馬達上的外負載,同時工作壓力與泵輸出的流量一起建立了系統所需的功率。
重汽豪沃檢修車(大流量排水搶險車) 整車型號:CL5040TPS6ACC 現車價格美麗 底盤配置:豪華寬體駕駛室、濰柴151、160馬力、萬里揚5檔、2.0T/4.5T、700R16鋼絲胎、原廠導流罩,半包圍駕駛室內飾,液晶儀表盤,帶中控、電窗、織物座椅、氣喇叭、原廠空調,全包裹、車鑰匙遠程遙控玻璃升降!重汽豪沃檢修車(大流量排水搶險車)圖片展示:?
程力汽車公司主要銷售:冷藏車、吸污車、環衛垃圾車、吸糞車、道路清掃車、高空作業車 地址:湖北省·隨州市·南郊平原崗·程力汽車工業園 網站備案號:鄂ICP備18017768號-134
鄂公網安備 42130202001503號